Dr. Marian Croak is one of the most influential inventors in modern technology, and she has created over 200 patents used in communication systems worldwide. As a child growing up in New York City, she was always curious about how things worked. When plumbers and electricians came to repair things in her home, she watched carefully as they worked.
In a 2020 United States Patent and Trademark Office interview, Croak said, "My whole profession has been looking at something that needs to change or to be fixed and trying to do this."

Croak's father Raymond Rodgers encouraged her curiosity. When he saw her interest in science, he gave her a chemistry set so she could experiment at home, according to Lemelson-MIT. Her mother supported her education and pushed her to pursue her goals. Her early role models included her high school math and science teachers. Croak received her undergraduate degree from Princeton University in 1977 and her PhD in statistical analysis and social psychology from the University of Southern California.

After graduating in 1982, Croak joined Bell Laboratories, which later became part of AT&T. She worked with scientists and engineers who were shaping the future of telecommunications.
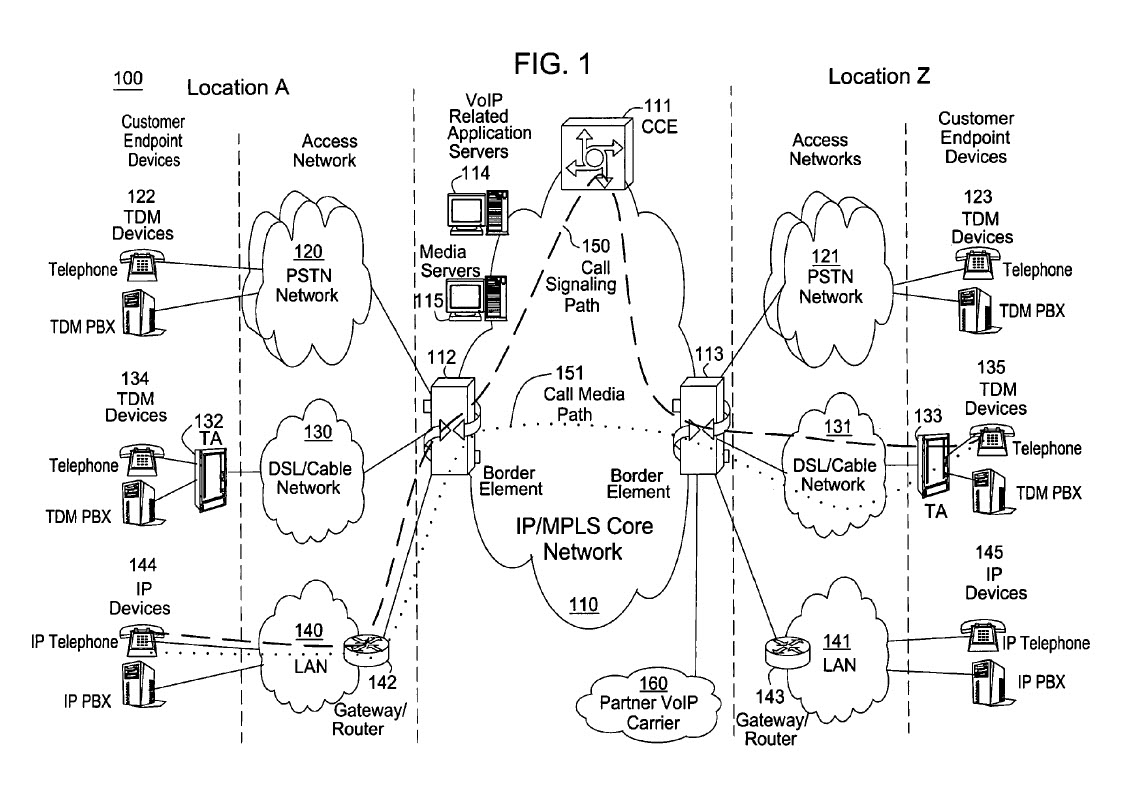
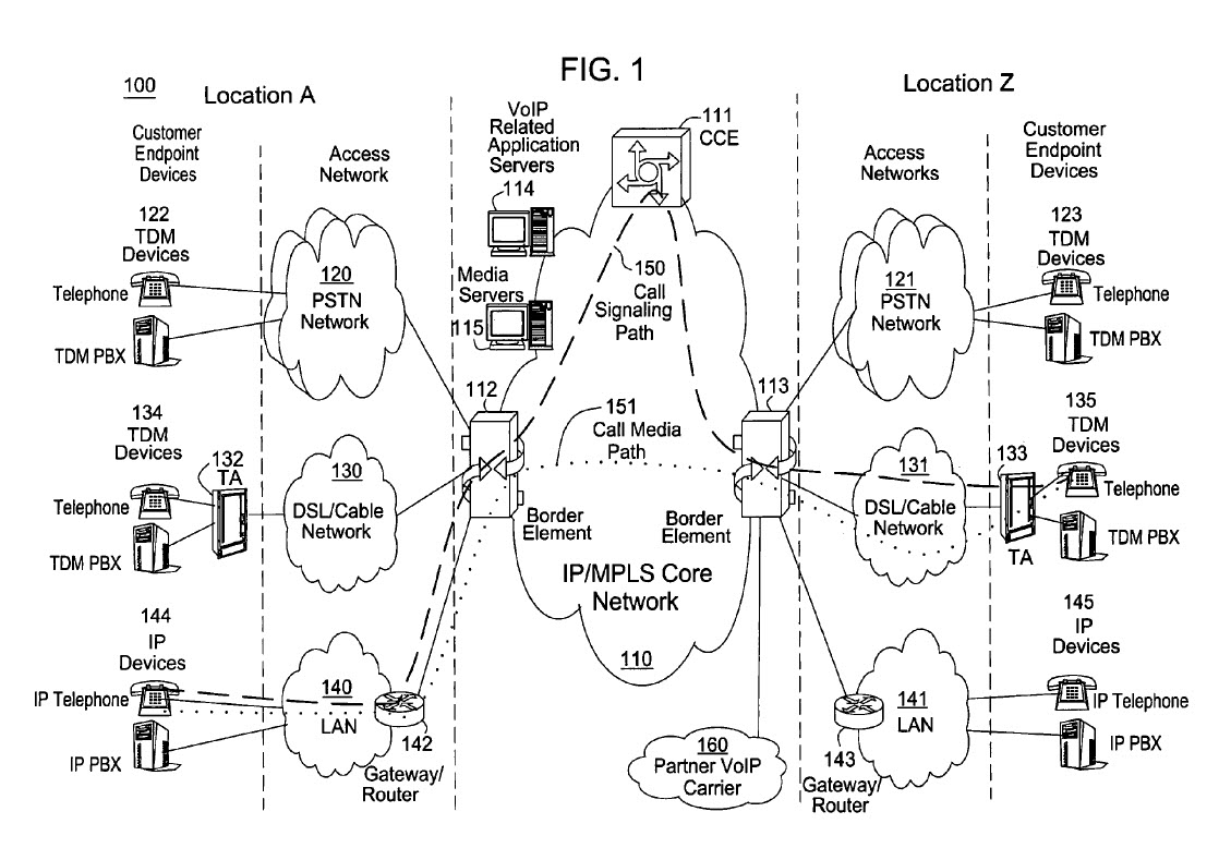
At that time, phone calls still relied on the Public Switched Telephone Network (PSTN), a global system of wired connections and switching centers that had been used for decades. But the drawback was that long-distance calls were very expensive and often unreliable. Croak saw an opportunity to make communication easier and more affordable, but it wasn't without challenges.
In an interview with The Wall Street Journal, Croak said she initially encountered internal resistance when she proposed routing phone calls over the Internet, and some people dismissed her ideas before hearing them.

In the 1990s, Croak started developing a technology called Voice over Internet Protocol (VoIP), which turns voices into digital signals that can travel through the Internet. The first versions were rough. Voices sometimes sounded distorted, and the network could fail under heavy use, she told USPTO Director Andrei Iancu in an interview.
Croak kept improving the system until it became clear and reliable. Her work helped build the foundation for modern Internet communication. Because of her inventions, people can talk, learn, and share across any distance.





Croak went on to earn more than 200 patents, and her ideas became essential to the systems used in today’s phones, video calls, and online meetings. When families hear each other’s voices from different parts of the world, her work makes it possible.
She also developed technology that allowed people to donate money through text messages. During the 2010 Haiti earthquake, the text-to-donate system helped the American Red Cross raise funds by asking people to text the word "HAITI" to the number 90999.

After more than 30 years at AT&T, Croak joined Google in 2014. She is now the Vice President of Engineering. Her work focuses on making smart technologies and artificial intelligence safe, fair, and beneficial for everyone.
On May 5, 2022, Dr. Marian Croak was inducted into the National Inventors Hall of Fame. She became one of the first Black women to receive that honor along with ophthalmologist Patricia Bath that year. The award recognized Croak's leadership, her impact on communication technology, and her lifelong dedication to improving how people connect.

"It just helps us to be able to be inspired by someone who is human, who can somehow make what seems impossible possible," Croak said in a 2020 interview with the USPTO.
Croak's story shows all of us how curiosity, hard work, and compassion can change the way people communicate. It's important for people everywhere to know and remember her name.